Glass - Windshield for 2020 Mitsubishi Outlander Sport
Vehicle
2020 Mitsubishi Outlander Sport
Change Vehicle
Categories
- Accessory Drive Belt System Components
- Brackets, Flanges & Hangers
- Cooling Fan, Clutch & Motor
- Gaskets & Sealing Systems
- Hardware, Fasteners & Fittings
- Hoses & Pipes
- Radiators, Coolers & Related Components
- Relays
- Sensors
- Thermostat & Housing
- Water Pump & Related Components
- Wire, Cable & Related Components
- Aero Ground Effects & Body Kits
- Brackets, Flanges & Hangers
- Bumper
- Bumper & Components - Front
- Bumper & Components - Rear
- Bushings
- Center Console
- Center Pillar & Rocker
- Cluster & Switches
- Console
- Control Cables
- Cowl
- Dashboard
- Door & Components
- Doors
- Driver Seat Components
- Ducts
- Electrical Components
- Exterior Trim - Fender
- Exterior Trim - Front Door
- Exterior Trim - Lift Gate
- Exterior Trim - Pillars
- Exterior Trim - Quarter Panel
- Exterior Trim - Rear Door
- Exterior Trim - Roof
- Fender & Components
- Fenders
- Floor
- Floor & Rails
- Frame
- Front Door
- Fuel Door
- Gaskets & Sealing Systems
- Glass - Front Door
- Glass - Lift Gate
- Glass - Rear Door
- Glass - Windshield
- Glass & Hardware
- Glass, Windows & Related Components
- Glove Box
- Grille
- Grille & Components
- Hardware, Fasteners & Fittings
- Hinge Pillar
- Hood
- Hood & Components
- Horns
- Information Labels
- Inner Structure
- Instrument Panel
- Instrument Panel Components
- Interior Trim
- Interior Trim - Front Door
- Interior Trim - Pillars
- Interior Trim - Quarter Panels
- Interior Trim - Rear Body
- Interior Trim - Rear Door
- Interior Trim - Roof
- Jack & Components
- Labels
- Lift Gate
- Liftgate
- Lock & Hardware
- Luggage Carrier
- Master Cylinder - Components On Dash Panel
- Mirrors
- Outside Mirrors
- Passenger Seat Components
- Quarter Panel
- Quarter Panel & Components
- Radiator Support
- Rear Body
- Rear Door
- Rear Floor & Rails
- Rear Seat Components
- Rocker Panel
- Roof
- Roof & Components
- Seat Belt
- Seats
- Sensors
- Side Pillar
- Sound System
- Splash Shields
- Spoiler
- Steering Wheel
- Structural Components & Rails
- Switches, Solenoids & Actuators
- Tracks & Components
- Transmission Shift Lever
- Truck Box
- Trunk Lid & Compartment
- Washer Components
- Wiper & Washer Components
- Wiper Components
- Wire, Cable & Related Components
- ABS Components
- Anti-Lock Brakes
- Brackets, Flanges & Hangers
- Brake Components
- Brake Hydraulics
- Bushings
- Disc Pads & Brake Shoes
- Drums & Rotors
- Front Brakes
- Gaskets & Sealing Systems
- Hardware, Fasteners & Fittings
- Hoses & Pipes
- Hydraulic System
- Parking Brake
- Rear Brakes
- Sensors
- Service Kits
- Stability Control
- Universal
- Valves
- ABS Components
- Air Bag Components
- Air Bag System
- Alarm System
- Alternator
- Alternator/Generator & Related Components
- Antenna & Radio
- Anti-Theft Components
- Anti-Theft System
- Backup Lamps
- Battery
- Battery & Related Components
- Brackets, Flanges & Hangers
- Bulbs - Chassis
- Control Modules
- Doors
- Electrical Connectors
- Electrical Sockets
- Flasher Units, Fuses, & Circuit Breakers
- Fog Lamps
- Front Door
- Front Seat Belts
- Fuse & Relay
- Gaskets & Sealing Systems
- Glass, Windows & Related Components
- Hardware, Fasteners & Fittings
- Headlamp Components
- Heated Seats
- High Mounted Stop Lamp
- Horn
- Ignition Lock
- Ignition System
- Information Labels
- Instruments & Gauges
- Keyless Entry Components
- License Lamps
- Lighting - Exterior
- Lighting - Interior
- Mirrors
- Mobile Multi-Media
- Navigation System
- Navigation System Components
- Parking Aid
- Power Outlets
- Power Seats
- Powertrain Control
- Rear Door
- Relays
- Second Row Seat Belts
- Senders
- Sensors
- Side Repeater Lamps
- Signal Lamps
- Starter
- Starter & Related Components
- Sunroof
- Switches
- Switches, Solenoids & Actuators
- Tail Lamps
- Tire Pressure Monitor Components
- Voltage Regulator
- Wipers
- Wiring Harness
- Air Intake
- Bearings
- Brackets, Flanges & Hangers
- Control Modules
- Cylinder Block Components
- Engine
- Engine & Trans Mounting
- Engine Appearance Cover
- Engine Parts
- Filters
- Gaskets & Sealing Systems
- Hardware, Fasteners & Fittings
- Mounts
- Oil Pan
- Oil Pump
- Switches, Solenoids & Actuators
- Transaxle Parts
- Valve Train Components
- Wire, Cable & Related Components
- A/C Accumulator/Receiver Drier
- A/C Clutch & Compressor
- A/C Condenser & Evaporator
- A/C Flow Restrictors
- Automatic Temperature Controls
- Blower Motor & Fan
- Brackets, Flanges & Hangers
- Condenser, Compressor & Lines
- Control Modules
- Controls
- Evaporator & Heater Components
- Filters
- Gaskets & Sealing Systems
- Hardware, Fasteners & Fittings
- Heater
- Hoses & Pipes
- HVAC Case
- Information Labels
- Motors, Core, Case & Related Components
- Sensors
- Switches & Sensors
- Switches, Solenoids & Actuators
- Temperature Controls & Related Components
- Wire, Cable & Related Components
- Brackets, Flanges & Hangers
- Gaskets & Sealing Systems
- Hardware, Fasteners & Fittings
- Motors
- Power Steering Hoses, Pumps, & Related Components
- Sensors
- Shroud, Switches & Levers
- Steering Column
- Steering Column Assembly
- Steering Gear & Linkage
- Steering Wheel
- Steering Wheel & Trim
- Steering, Gear & Related Components
- Wire, Cable & Related Components
- Accessory Drive Belt System Components
- Brackets, Flanges & Hangers
- Cooling Fan, Clutch & Motor
- Gaskets & Sealing Systems
- Hardware, Fasteners & Fittings
- Hoses & Pipes
- Radiators, Coolers & Related Components
- Relays
- Sensors
- Thermostat & Housing
- Water Pump & Related Components
- Wire, Cable & Related Components
- Aero Ground Effects & Body Kits
- Brackets, Flanges & Hangers
- Bumper
- Bumper & Components - Front
- Bumper & Components - Rear
- Bushings
- Center Console
- Center Pillar & Rocker
- Cluster & Switches
- Console
- Control Cables
- Cowl
- Dashboard
- Door & Components
- Doors
- Driver Seat Components
- Ducts
- Electrical Components
- Exterior Trim - Fender
- Exterior Trim - Front Door
- Exterior Trim - Lift Gate
- Exterior Trim - Pillars
- Exterior Trim - Quarter Panel
- Exterior Trim - Rear Door
- Exterior Trim - Roof
- Fender & Components
- Fenders
- Floor
- Floor & Rails
- Frame
- Front Door
- Fuel Door
- Gaskets & Sealing Systems
- Glass - Front Door
- Glass - Lift Gate
- Glass - Rear Door
- Glass - Windshield
- Glass & Hardware
- Glass, Windows & Related Components
- Glove Box
- Grille
- Grille & Components
- Hardware, Fasteners & Fittings
- Hinge Pillar
- Hood
- Hood & Components
- Horns
- Information Labels
- Inner Structure
- Instrument Panel
- Instrument Panel Components
- Interior Trim
- Interior Trim - Front Door
- Interior Trim - Pillars
- Interior Trim - Quarter Panels
- Interior Trim - Rear Body
- Interior Trim - Rear Door
- Interior Trim - Roof
- Jack & Components
- Labels
- Lift Gate
- Liftgate
- Lock & Hardware
- Luggage Carrier
- Master Cylinder - Components On Dash Panel
- Mirrors
- Outside Mirrors
- Passenger Seat Components
- Quarter Panel
- Quarter Panel & Components
- Radiator Support
- Rear Body
- Rear Door
- Rear Floor & Rails
- Rear Seat Components
- Rocker Panel
- Roof
- Roof & Components
- Seat Belt
- Seats
- Sensors
- Side Pillar
- Sound System
- Splash Shields
- Spoiler
- Steering Wheel
- Structural Components & Rails
- Switches, Solenoids & Actuators
- Tracks & Components
- Transmission Shift Lever
- Truck Box
- Trunk Lid & Compartment
- Washer Components
- Wiper & Washer Components
- Wiper Components
- Wire, Cable & Related Components
- ABS Components
- Anti-Lock Brakes
- Brackets, Flanges & Hangers
- Brake Components
- Brake Hydraulics
- Bushings
- Disc Pads & Brake Shoes
- Drums & Rotors
- Front Brakes
- Gaskets & Sealing Systems
- Hardware, Fasteners & Fittings
- Hoses & Pipes
- Hydraulic System
- Parking Brake
- Rear Brakes
- Sensors
- Service Kits
- Stability Control
- Universal
- Valves
- ABS Components
- Air Bag Components
- Air Bag System
- Alarm System
- Alternator
- Alternator/Generator & Related Components
- Antenna & Radio
- Anti-Theft Components
- Anti-Theft System
- Backup Lamps
- Battery
- Battery & Related Components
- Brackets, Flanges & Hangers
- Bulbs - Chassis
- Control Modules
- Doors
- Electrical Connectors
- Electrical Sockets
- Flasher Units, Fuses, & Circuit Breakers
- Fog Lamps
- Front Door
- Front Seat Belts
- Fuse & Relay
- Gaskets & Sealing Systems
- Glass, Windows & Related Components
- Hardware, Fasteners & Fittings
- Headlamp Components
- Heated Seats
- High Mounted Stop Lamp
- Horn
- Ignition Lock
- Ignition System
- Information Labels
- Instruments & Gauges
- Keyless Entry Components
- License Lamps
- Lighting - Exterior
- Lighting - Interior
- Mirrors
- Mobile Multi-Media
- Navigation System
- Navigation System Components
- Parking Aid
- Power Outlets
- Power Seats
- Powertrain Control
- Rear Door
- Relays
- Second Row Seat Belts
- Senders
- Sensors
- Side Repeater Lamps
- Signal Lamps
- Starter
- Starter & Related Components
- Sunroof
- Switches
- Switches, Solenoids & Actuators
- Tail Lamps
- Tire Pressure Monitor Components
- Voltage Regulator
- Wipers
- Wiring Harness
- Air Intake
- Bearings
- Brackets, Flanges & Hangers
- Control Modules
- Cylinder Block Components
- Engine
- Engine & Trans Mounting
- Engine Appearance Cover
- Engine Parts
- Filters
- Gaskets & Sealing Systems
- Hardware, Fasteners & Fittings
- Mounts
- Oil Pan
- Oil Pump
- Switches, Solenoids & Actuators
- Transaxle Parts
- Valve Train Components
- Wire, Cable & Related Components
- A/C Accumulator/Receiver Drier
- A/C Clutch & Compressor
- A/C Condenser & Evaporator
- A/C Flow Restrictors
- Automatic Temperature Controls
- Blower Motor & Fan
- Brackets, Flanges & Hangers
- Condenser, Compressor & Lines
- Control Modules
- Controls
- Evaporator & Heater Components
- Filters
- Gaskets & Sealing Systems
- Hardware, Fasteners & Fittings
- Heater
- Hoses & Pipes
- HVAC Case
- Information Labels
- Motors, Core, Case & Related Components
- Sensors
- Switches & Sensors
- Switches, Solenoids & Actuators
- Temperature Controls & Related Components
- Wire, Cable & Related Components
- Brackets, Flanges & Hangers
- Gaskets & Sealing Systems
- Hardware, Fasteners & Fittings
- Motors
- Power Steering Hoses, Pumps, & Related Components
- Sensors
- Shroud, Switches & Levers
- Steering Column
- Steering Column Assembly
- Steering Gear & Linkage
- Steering Wheel
- Steering Wheel & Trim
- Steering, Gear & Related Components
- Wire, Cable & Related Components
Browse Categories
Select category
- Accessory Drive Belt System Components
- Brackets, Flanges & Hangers
- Cooling Fan, Clutch & Motor
- Gaskets & Sealing Systems
- Hardware, Fasteners & Fittings
- Hoses & Pipes
- Radiators, Coolers & Related Components
- Relays
- Sensors
- Thermostat & Housing
- Water Pump & Related Components
- Wire, Cable & Related Components
- Aero Ground Effects & Body Kits
- Brackets, Flanges & Hangers
- Bumper
- Bumper & Components - Front
- Bumper & Components - Rear
- Bushings
- Center Console
- Center Pillar & Rocker
- Cluster & Switches
- Console
- Control Cables
- Cowl
- Dashboard
- Door & Components
- Doors
- Driver Seat Components
- Ducts
- Electrical Components
- Exterior Trim - Fender
- Exterior Trim - Front Door
- Exterior Trim - Lift Gate
- Exterior Trim - Pillars
- Exterior Trim - Quarter Panel
- Exterior Trim - Rear Door
- Exterior Trim - Roof
- Fender & Components
- Fenders
- Floor
- Floor & Rails
- Frame
- Front Door
- Fuel Door
- Gaskets & Sealing Systems
- Glass - Front Door
- Glass - Lift Gate
- Glass - Rear Door
- Glass - Windshield
- Glass & Hardware
- Glass, Windows & Related Components
- Glove Box
- Grille
- Grille & Components
- Hardware, Fasteners & Fittings
- Hinge Pillar
- Hood
- Hood & Components
- Horns
- Information Labels
- Inner Structure
- Instrument Panel
- Instrument Panel Components
- Interior Trim
- Interior Trim - Front Door
- Interior Trim - Pillars
- Interior Trim - Quarter Panels
- Interior Trim - Rear Body
- Interior Trim - Rear Door
- Interior Trim - Roof
- Jack & Components
- Labels
- Lift Gate
- Liftgate
- Lock & Hardware
- Luggage Carrier
- Master Cylinder - Components On Dash Panel
- Mirrors
- Outside Mirrors
- Passenger Seat Components
- Quarter Panel
- Quarter Panel & Components
- Radiator Support
- Rear Body
- Rear Door
- Rear Floor & Rails
- Rear Seat Components
- Rocker Panel
- Roof
- Roof & Components
- Seat Belt
- Seats
- Sensors
- Side Pillar
- Sound System
- Splash Shields
- Spoiler
- Steering Wheel
- Structural Components & Rails
- Switches, Solenoids & Actuators
- Tracks & Components
- Transmission Shift Lever
- Truck Box
- Trunk Lid & Compartment
- Washer Components
- Wiper & Washer Components
- Wiper Components
- Wire, Cable & Related Components
- ABS Components
- Anti-Lock Brakes
- Brackets, Flanges & Hangers
- Brake Components
- Brake Hydraulics
- Bushings
- Disc Pads & Brake Shoes
- Drums & Rotors
- Front Brakes
- Gaskets & Sealing Systems
- Hardware, Fasteners & Fittings
- Hoses & Pipes
- Hydraulic System
- Parking Brake
- Rear Brakes
- Sensors
- Service Kits
- Stability Control
- Universal
- Valves
- ABS Components
- Air Bag Components
- Air Bag System
- Alarm System
- Alternator
- Alternator/Generator & Related Components
- Antenna & Radio
- Anti-Theft Components
- Anti-Theft System
- Backup Lamps
- Battery
- Battery & Related Components
- Brackets, Flanges & Hangers
- Bulbs - Chassis
- Control Modules
- Doors
- Electrical Connectors
- Electrical Sockets
- Flasher Units, Fuses, & Circuit Breakers
- Fog Lamps
- Front Door
- Front Seat Belts
- Fuse & Relay
- Gaskets & Sealing Systems
- Glass, Windows & Related Components
- Hardware, Fasteners & Fittings
- Headlamp Components
- Heated Seats
- High Mounted Stop Lamp
- Horn
- Ignition Lock
- Ignition System
- Information Labels
- Instruments & Gauges
- Keyless Entry Components
- License Lamps
- Lighting - Exterior
- Lighting - Interior
- Mirrors
- Mobile Multi-Media
- Navigation System
- Navigation System Components
- Parking Aid
- Power Outlets
- Power Seats
- Powertrain Control
- Rear Door
- Relays
- Second Row Seat Belts
- Senders
- Sensors
- Side Repeater Lamps
- Signal Lamps
- Starter
- Starter & Related Components
- Sunroof
- Switches
- Switches, Solenoids & Actuators
- Tail Lamps
- Tire Pressure Monitor Components
- Voltage Regulator
- Wipers
- Wiring Harness
- Air Intake
- Bearings
- Brackets, Flanges & Hangers
- Control Modules
- Cylinder Block Components
- Engine
- Engine & Trans Mounting
- Engine Appearance Cover
- Engine Parts
- Filters
- Gaskets & Sealing Systems
- Hardware, Fasteners & Fittings
- Mounts
- Oil Pan
- Oil Pump
- Switches, Solenoids & Actuators
- Transaxle Parts
- Valve Train Components
- Wire, Cable & Related Components
- A/C Accumulator/Receiver Drier
- A/C Clutch & Compressor
- A/C Condenser & Evaporator
- A/C Flow Restrictors
- Automatic Temperature Controls
- Blower Motor & Fan
- Brackets, Flanges & Hangers
- Condenser, Compressor & Lines
- Control Modules
- Controls
- Evaporator & Heater Components
- Filters
- Gaskets & Sealing Systems
- Hardware, Fasteners & Fittings
- Heater
- Hoses & Pipes
- HVAC Case
- Information Labels
- Motors, Core, Case & Related Components
- Sensors
- Switches & Sensors
- Switches, Solenoids & Actuators
- Temperature Controls & Related Components
- Wire, Cable & Related Components
- Brackets, Flanges & Hangers
- Gaskets & Sealing Systems
- Hardware, Fasteners & Fittings
- Motors
- Power Steering Hoses, Pumps, & Related Components
- Sensors
- Shroud, Switches & Levers
- Steering Column
- Steering Column Assembly
- Steering Gear & Linkage
- Steering Wheel
- Steering Wheel & Trim
- Steering, Gear & Related Components
- Wire, Cable & Related Components
- Accessory Drive Belt System Components
- Brackets, Flanges & Hangers
- Cooling Fan, Clutch & Motor
- Gaskets & Sealing Systems
- Hardware, Fasteners & Fittings
- Hoses & Pipes
- Radiators, Coolers & Related Components
- Relays
- Sensors
- Thermostat & Housing
- Water Pump & Related Components
- Wire, Cable & Related Components
- Aero Ground Effects & Body Kits
- Brackets, Flanges & Hangers
- Bumper
- Bumper & Components - Front
- Bumper & Components - Rear
- Bushings
- Center Console
- Center Pillar & Rocker
- Cluster & Switches
- Console
- Control Cables
- Cowl
- Dashboard
- Door & Components
- Doors
- Driver Seat Components
- Ducts
- Electrical Components
- Exterior Trim - Fender
- Exterior Trim - Front Door
- Exterior Trim - Lift Gate
- Exterior Trim - Pillars
- Exterior Trim - Quarter Panel
- Exterior Trim - Rear Door
- Exterior Trim - Roof
- Fender & Components
- Fenders
- Floor
- Floor & Rails
- Frame
- Front Door
- Fuel Door
- Gaskets & Sealing Systems
- Glass - Front Door
- Glass - Lift Gate
- Glass - Rear Door
- Glass - Windshield
- Glass & Hardware
- Glass, Windows & Related Components
- Glove Box
- Grille
- Grille & Components
- Hardware, Fasteners & Fittings
- Hinge Pillar
- Hood
- Hood & Components
- Horns
- Information Labels
- Inner Structure
- Instrument Panel
- Instrument Panel Components
- Interior Trim
- Interior Trim - Front Door
- Interior Trim - Pillars
- Interior Trim - Quarter Panels
- Interior Trim - Rear Body
- Interior Trim - Rear Door
- Interior Trim - Roof
- Jack & Components
- Labels
- Lift Gate
- Liftgate
- Lock & Hardware
- Luggage Carrier
- Master Cylinder - Components On Dash Panel
- Mirrors
- Outside Mirrors
- Passenger Seat Components
- Quarter Panel
- Quarter Panel & Components
- Radiator Support
- Rear Body
- Rear Door
- Rear Floor & Rails
- Rear Seat Components
- Rocker Panel
- Roof
- Roof & Components
- Seat Belt
- Seats
- Sensors
- Side Pillar
- Sound System
- Splash Shields
- Spoiler
- Steering Wheel
- Structural Components & Rails
- Switches, Solenoids & Actuators
- Tracks & Components
- Transmission Shift Lever
- Truck Box
- Trunk Lid & Compartment
- Washer Components
- Wiper & Washer Components
- Wiper Components
- Wire, Cable & Related Components
- ABS Components
- Anti-Lock Brakes
- Brackets, Flanges & Hangers
- Brake Components
- Brake Hydraulics
- Bushings
- Disc Pads & Brake Shoes
- Drums & Rotors
- Front Brakes
- Gaskets & Sealing Systems
- Hardware, Fasteners & Fittings
- Hoses & Pipes
- Hydraulic System
- Parking Brake
- Rear Brakes
- Sensors
- Service Kits
- Stability Control
- Universal
- Valves
- ABS Components
- Air Bag Components
- Air Bag System
- Alarm System
- Alternator
- Alternator/Generator & Related Components
- Antenna & Radio
- Anti-Theft Components
- Anti-Theft System
- Backup Lamps
- Battery
- Battery & Related Components
- Brackets, Flanges & Hangers
- Bulbs - Chassis
- Control Modules
- Doors
- Electrical Connectors
- Electrical Sockets
- Flasher Units, Fuses, & Circuit Breakers
- Fog Lamps
- Front Door
- Front Seat Belts
- Fuse & Relay
- Gaskets & Sealing Systems
- Glass, Windows & Related Components
- Hardware, Fasteners & Fittings
- Headlamp Components
- Heated Seats
- High Mounted Stop Lamp
- Horn
- Ignition Lock
- Ignition System
- Information Labels
- Instruments & Gauges
- Keyless Entry Components
- License Lamps
- Lighting - Exterior
- Lighting - Interior
- Mirrors
- Mobile Multi-Media
- Navigation System
- Navigation System Components
- Parking Aid
- Power Outlets
- Power Seats
- Powertrain Control
- Rear Door
- Relays
- Second Row Seat Belts
- Senders
- Sensors
- Side Repeater Lamps
- Signal Lamps
- Starter
- Starter & Related Components
- Sunroof
- Switches
- Switches, Solenoids & Actuators
- Tail Lamps
- Tire Pressure Monitor Components
- Voltage Regulator
- Wipers
- Wiring Harness
- Air Intake
- Bearings
- Brackets, Flanges & Hangers
- Control Modules
- Cylinder Block Components
- Engine
- Engine & Trans Mounting
- Engine Appearance Cover
- Engine Parts
- Filters
- Gaskets & Sealing Systems
- Hardware, Fasteners & Fittings
- Mounts
- Oil Pan
- Oil Pump
- Switches, Solenoids & Actuators
- Transaxle Parts
- Valve Train Components
- Wire, Cable & Related Components
- A/C Accumulator/Receiver Drier
- A/C Clutch & Compressor
- A/C Condenser & Evaporator
- A/C Flow Restrictors
- Automatic Temperature Controls
- Blower Motor & Fan
- Brackets, Flanges & Hangers
- Condenser, Compressor & Lines
- Control Modules
- Controls
- Evaporator & Heater Components
- Filters
- Gaskets & Sealing Systems
- Hardware, Fasteners & Fittings
- Heater
- Hoses & Pipes
- HVAC Case
- Information Labels
- Motors, Core, Case & Related Components
- Sensors
- Switches & Sensors
- Switches, Solenoids & Actuators
- Temperature Controls & Related Components
- Wire, Cable & Related Components
- Brackets, Flanges & Hangers
- Gaskets & Sealing Systems
- Hardware, Fasteners & Fittings
- Motors
- Power Steering Hoses, Pumps, & Related Components
- Sensors
- Shroud, Switches & Levers
- Steering Column
- Steering Column Assembly
- Steering Gear & Linkage
- Steering Wheel
- Steering Wheel & Trim
- Steering, Gear & Related Components
- Wire, Cable & Related Components
9
- $685.99Mirror InsideMitsubishiWith chromatic mirror, with lane assist. 2017-22, with auto dimming, with lane monitor.
- $81.47Mirror InsideMitsubishi2017-22, without auto dimming. Without chromatic mirror. All. 2014-16. Without sensor. Hatchback. Sedan, standard. Outlander 2022-24 Outlander PHEV 2023-25. without auto dim.
No.
Part # / Description / Price
Price
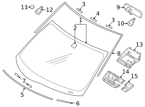
1
MSRP $868.49
$677.42
1
MSRP $1,010.37
$788.09
2
Windshield Button
Mitsubishi
Mitsubishi Notes: PARTS: Part included with windshield.
Description: 2017-22. Hatchback. Without pre-crash. 2014-16. With compass. Outlander 2022-24 Outlander PHEV 2023-25.
MSRP $17.13
$13.36
MSRP $17.13
$13.36
3
Lift Gate Glass Stopper
Mitsubishi
Mitsubishi Description: Outer. 2017-22. 2022-25. 2018-20. 2014-16. Lift gate glass,stopper.
MSRP $2.37
$1.85
MSRP $2.37
$1.85
5
MSRP $13.72
$10.70
7
Windshield Spacer
Mitsubishi
Mitsubishi Description: Small. 2017-22, inner. 2022-25. Without hybrid. 2018-20. 2014-16, inner. Lift gate glass,spacer.
MSRP $10.42
$8.13
MSRP $10.42
$8.13
8
MSRP $171.83
$134.03
9
Mirror Inside
Mitsubishi
Mitsubishi Description: With chromatic mirror, with lane assist. 2017-22, with auto dimming, with lane monitor.
MSRP $879.47
$685.99
MSRP $879.47
$685.99
9
Mirror Inside
Mitsubishi
Mitsubishi Description: 2017-22, without auto dimming. Without chromatic mirror. All. 2014-16. Without sensor. Hatchback. Sedan, standard. Outlander 2022-24 Outlander PHEV 2023-25. without auto dim.
MSRP $104.45
$81.47
MSRP $104.45
$81.47
11
Rain Sensor
Mitsubishi
Mitsubishi Description: Lancer. All. 2017-22. Outlander Sport. 2.0l. 2014-16. Outlander PHEV. Without chromatic mirror. Outlander Sport. 2.4l.
MSRP $441.60
$344.45
MSRP $441.60
$344.45
13
Control Unit, Driving Su
Mitsubishi
Mitsubishi Description: Outlander Sport. Windshield.
MSRP $1,488.26
$1,198.05
MSRP $1,488.26
$1,198.05
