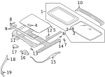
Drip Channel - Mitsubishi (MR341013)
Genuine OEM Mitsubishi Parts & Accessories - mr341013
- Mitsubishi
- MR341013
Packages shipped within the U.S. and Puerto Rico will automatically be protected from any loss, damage, and theft. Learn More

Details
- Brand:
- SKU:
MR341013
- Other Names:
Rail, Sunroof Drip
- Description:
With sunroof.
This item is non-returnable.
- Condition: New
Vehicle Fitment
| Year | Make | Model | Body & Trim | Engine & Transmission |
|---|
Also Purchased
Product Reviews
Lasco Auto Parts
Buying Ford OEM Parts online has never been easier. Lasco Auto Parts allows customers to search for Ford OEM Parts & Accessories online with the entire Ford parts catalog. Once having confidence that you have found the right part using in-depth pictures and diagrams, you can easily order the parts and get them shipped directly to your door step. You can buy Ford Parts for the best price and have instant access on any device with our responsive website design. We look forward to helping you with all of your Ford Parts & Ford Accessory needs.
You can shop for the parts you need anywhere, anytime, from your desktop, tablet or mobile device. When checking out you can choose to buy online, pick up at our dealer and even request expedited delivery. You can also chat anytime with trained agents who can assist you with finding the right part, help you track your order and more. There’s a lot more to discover:


